Federt nicht
Re: Federt nicht
Hallo,
stichpunktartig würde ich so vorgehen:
- LHM-Stand bei laufendem Motor in Höchststellung prüfen, ggf. nachfüllen und bei merklichem Verlust diesem auf den Grund gehen
- Prüfen, ob die Federkugeln die passenden für das vorliegende Modell sind und auch prüfen, ob die Kugeln, sollten es die passenden sein, auch an der richtigen Stelle montiert sind
- Zustand des Drucks der Kugeln prüfen (lassen) sollte daran Zweifel bestehen. Nachbaukugeln können auch nach einem Jahr schon hinüber sein.
- Bodenfreiheit in allen möglichen Stellungen prüfen, besonders in Normalstellung (Werkstatthandbuch!)
- sollte das alles zu keinem Erfolg führen entweder hier im Forum jemanden finden, der in der Nähe ist, sich auskennt und vielleicht mal draufschaut oder zum Spezialisten fahren.
- zu guter letzt noch dies:
Obwohl eigentlich selbstverständlich niemals an einem Hydropneumaten Arbeiten an der hydraulischen Anlage ohne entsprechende Absicherungen durchführen! Also beispielsweise unterm Auto arbeiten, dass lediglich in Höchststellung gebracht wurde...
Viel Erfolg!
Grüße
Alex
stichpunktartig würde ich so vorgehen:
- LHM-Stand bei laufendem Motor in Höchststellung prüfen, ggf. nachfüllen und bei merklichem Verlust diesem auf den Grund gehen
- Prüfen, ob die Federkugeln die passenden für das vorliegende Modell sind und auch prüfen, ob die Kugeln, sollten es die passenden sein, auch an der richtigen Stelle montiert sind
- Zustand des Drucks der Kugeln prüfen (lassen) sollte daran Zweifel bestehen. Nachbaukugeln können auch nach einem Jahr schon hinüber sein.
- Bodenfreiheit in allen möglichen Stellungen prüfen, besonders in Normalstellung (Werkstatthandbuch!)
- sollte das alles zu keinem Erfolg führen entweder hier im Forum jemanden finden, der in der Nähe ist, sich auskennt und vielleicht mal draufschaut oder zum Spezialisten fahren.
- zu guter letzt noch dies:
Obwohl eigentlich selbstverständlich niemals an einem Hydropneumaten Arbeiten an der hydraulischen Anlage ohne entsprechende Absicherungen durchführen! Also beispielsweise unterm Auto arbeiten, dass lediglich in Höchststellung gebracht wurde...
Viel Erfolg!
Grüße
Alex
www.citroservice.de www.dellenspezi.de
-
Carsten_SM
- Beiträge: 1174
- Registriert: Sa 5. Sep 2009, 20:51
Re: Federt nicht
Nein. Wenn er ohne LHM im Fass anfängt, die Kiste maximal hochzufahren, ist das nicht gesund. Kipp einen, vielleicht auch 2 Liter rein.
Und DANN fährst Du ihn hoch, und guckst, machst Füllstandskontrolle und bringst das erstmal auf anständiges Level.
Danach in Höchst und bei laufemdem Motor löst Du die 12er um 1 Umdrehung- wenn es laut zischt, verschwindet die Luft aus dem System.
Danach zudrehen, handfest / nicht anknallen, Normalhöhe, und Probefahrt.
Danach weiter wie über diesem Post beschrieben.
Wo ist denn Dein Standort ?
Carsten
Und DANN fährst Du ihn hoch, und guckst, machst Füllstandskontrolle und bringst das erstmal auf anständiges Level.
Danach in Höchst und bei laufemdem Motor löst Du die 12er um 1 Umdrehung- wenn es laut zischt, verschwindet die Luft aus dem System.
Danach zudrehen, handfest / nicht anknallen, Normalhöhe, und Probefahrt.
Danach weiter wie über diesem Post beschrieben.
Wo ist denn Dein Standort ?
Carsten
- Claude-Michel
- Beiträge: 1652
- Registriert: Do 19. Okt 2006, 09:49
- Kontaktdaten:
Re: Federt nicht
[quote=KaiserKaiser]
Sry, neu, geschweißt...[/quote]
Welchen Tarierdruck haben diese neue, geschweißte Kugeln?
Sry, neu, geschweißt...[/quote]
Welchen Tarierdruck haben diese neue, geschweißte Kugeln?
Gruß
Claude-Michel
DSuper5, 2x Xantia break 1,8i 16V, Xantia break 2,0i 16V, C4 1,6i 16V coupé
Claude-Michel
DSuper5, 2x Xantia break 1,8i 16V, Xantia break 2,0i 16V, C4 1,6i 16V coupé
Re: Federt nicht
claude-m
scheint du hast ein problem.
wo oder wann habe ich bestritten, dass keine kugel drin ist?
es ist eine kugel drin und ein o-ring !!!
damit ist hoffentlich das thema beendet.
wer die schraube nur vorsichtig 1-2 umdrehungen aufdreht,
bekommt weder die kugel noch den o-ring zu sehen.
gute nacht
erik
scheint du hast ein problem.
wo oder wann habe ich bestritten, dass keine kugel drin ist?
es ist eine kugel drin und ein o-ring !!!
damit ist hoffentlich das thema beendet.
wer die schraube nur vorsichtig 1-2 umdrehungen aufdreht,
bekommt weder die kugel noch den o-ring zu sehen.
gute nacht
erik
- Claude-Michel
- Beiträge: 1652
- Registriert: Do 19. Okt 2006, 09:49
- Kontaktdaten:
Re: Federt nicht
Noch nie.dosdres hat geschrieben:Claude-Michel
scheint du hast ein Problem. Wo oder wann habe ich bestritten, dass keine kugel drin ist?
Du schreibst aber:
Was ich widersprochen habe mit:dosdres hat geschrieben:..es ist eine Kugel drin und ein o-Ring !!!...
Ich gebe zu, der Satz ist missverständlich. Ich hätte schreiben sollen:Claude-Michel hat geschrieben:Nix O-Ring sondern Kugel, wie oben geschrieben.
"Nix O-Ring sondern nur Kugel"
Das ist mein Wissensstand. Wenn du oder andere mir zeigen können, dass auch ein O-Ring zur Abdichtung eingebaut ist, bin ich bereit zu lernen. Anbei ein Ausschnitt aus der "Note technique 158D":
[attachment 10372 Vis12.jpg]
Da kann ich kein O-Ring erkennen. Auch wenn ich die 12er Schraube fest ziehe kann ich kein weichen Anschlag fühlen. Es ist hart, wie es sich eben anfühlt wenn nur eine Kugel abdichtet, ohne O-Ring. Das gleiche "fest-zieh"-Gefühl" hatte ich auch bei GS, BX, Xantia.
Außerdem habe ich noch nie gelesen, dass dieser O-Ring ausgetauscht wurde weil nach über 40 Jahren undicht.
Wie geschrieben, ich bin lernfähig. Der Ball liegt bei dir
Gruß
Claude-Michel
DSuper5, 2x Xantia break 1,8i 16V, Xantia break 2,0i 16V, C4 1,6i 16V coupé
Claude-Michel
DSuper5, 2x Xantia break 1,8i 16V, Xantia break 2,0i 16V, C4 1,6i 16V coupé
-
Gerhard Trosien
- Beiträge: 1055
- Registriert: Mi 5. Dez 2007, 07:04
Re: Federt nicht
[quote="M. Ferchaud"]
* seufz *[/Quote]ich fühle mit Dir
* seufz *[/Quote]ich fühle mit Dir
- Thomas Held Verified
- Beiträge: 5102
- Registriert: Do 22. Jul 2004, 12:11
Re: Federt nicht
Hallo Claude-Michel,
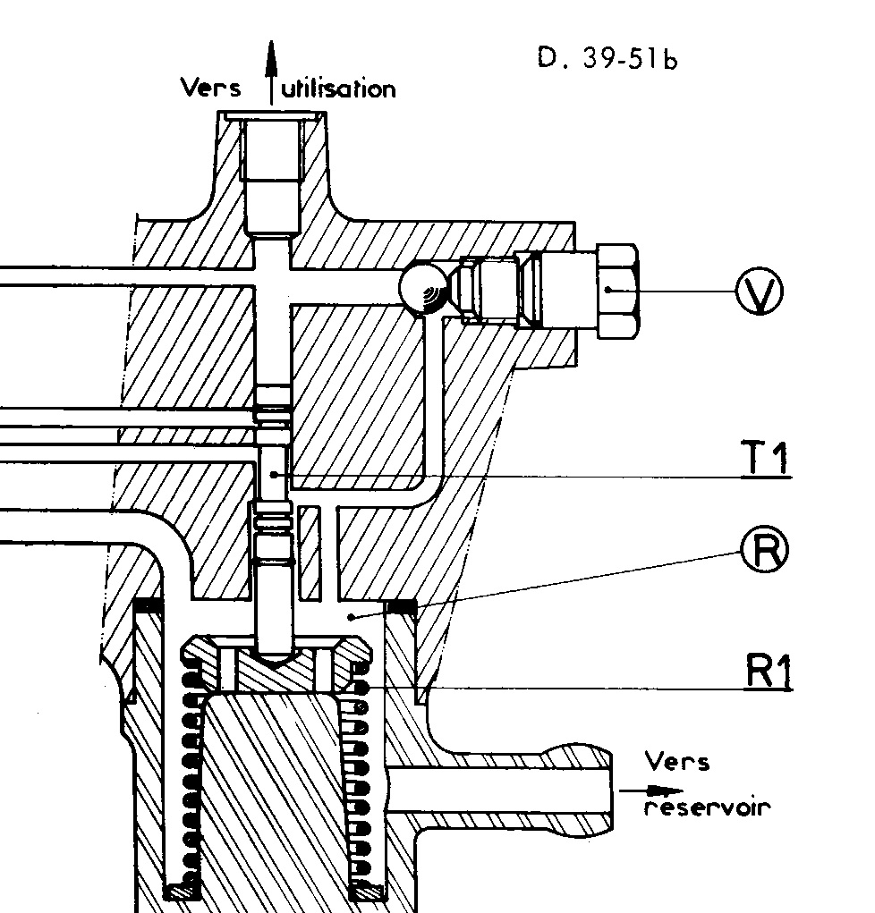
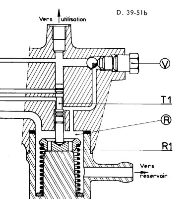
der O-Ring sitzt in einer Nut auf der Schraube und soll bei geloester Schraube ein eventuelles Raustropfen von Hydraulikoel verhindern.
Gruss,
Tom
der O-Ring sitzt in einer Nut auf der Schraube und soll bei geloester Schraube ein eventuelles Raustropfen von Hydraulikoel verhindern.
Gruss,
Tom
Gruß
Tom
Tom
Re: Federt nicht
dank an Thomas Held,
war schon am verzweifeln.
war kurz davor eine o-ring psychose zu bekommen.
und die seufzer von den foristen waren umsonst, kostet ja nix.
ich bin gerne im forum weil ich gerne helfe,
und auch gerne hilfe in anspruch nehme.
ich denke dafür ist das forum da. na ja!
mein lieber claude-m, wenn du an der 12 er drehst,
merkst du einen kleinen widerstand.
das ist der o-ring. siehe auch den post von Thomas Held.
vielleicht hast du keinen O-ring und da unten sifft es
und du wunderst dich, daß du LHM verlust hast.
nein, ich schicke dir kein rechnung, ist kostenlos.
noch sind wir clubmitglieder.
freundliche grüße
erik
war schon am verzweifeln.
war kurz davor eine o-ring psychose zu bekommen.
und die seufzer von den foristen waren umsonst, kostet ja nix.
ich bin gerne im forum weil ich gerne helfe,
und auch gerne hilfe in anspruch nehme.
ich denke dafür ist das forum da. na ja!
mein lieber claude-m, wenn du an der 12 er drehst,
merkst du einen kleinen widerstand.
das ist der o-ring. siehe auch den post von Thomas Held.
vielleicht hast du keinen O-ring und da unten sifft es
und du wunderst dich, daß du LHM verlust hast.
nein, ich schicke dir kein rechnung, ist kostenlos.
noch sind wir clubmitglieder.
freundliche grüße
erik
Re: Federt nicht
Seufz