Frage zu: DS23 Modellvarianten

Diskussionen rund um's Thema...
oliverf
Beiträge: 534
Registriert: Sa 3. Nov 2007, 15:26

Re: Frage zu: DS23 Modellvarianten

Beitrag von oliverf »

Hi,

ist das Auto Carraraweiß und hat blaue Polster?

Falls ja, echt schönes Auto und megaselten in der Ausführung, zumal noch als deutsche Erstauslieferung. Hatte den Wagen mal vor ein paar Jahren bei einer Auktion in Ladenburg gesehen und für einen Kunden begutachtet.
Aber die Drehzahl ist normal bei BW Vollautomatik.

Gruß

oliverf
Jint Nijman Verified
Beiträge: 2069
Registriert: Fr 14. Feb 2003, 23:11

Re: Frage zu: DS23 Modellvarianten

Beitrag von Jint Nijman Verified »

[quote=Eisvogel03]
Habe die Geschwindigkeit seit Februar langsam immer weiter erhöht. Mittlerweile bin ich kurzzeitig bei ca. 150 km/h angekommen, da dreht sie schon ca. 4.800 Touren. Das kommt mir ziemlich viel vor, mein Alltagsauto dreht da gerade mal 3.500. Gibt es irgendwo ein Datenblatt auf dem ich ablesen kann, welche Geschwindigkeit bei welcher Drehzahl erreicht sein sollte ?[/quote]

Siehe hier für einen Übersicht über alle DS/ID Getriebe Versionen.

Das Borg-Warner Getriebe braucht für 150 km/h fast 4600 rpm.
Das lange 5-Gang Getriebe etwas mehr wie 4100 rpm.
Das 4-Gang Getriebe so um die 4500 rpm, je nach Type.

Ich denke diese Drehzahlen sind für 150 km/h für einen Auto aus den 60/70-er Jahren ganz normal. Man muss das nicht mit moderne Autos vergleichen wollen.

Jint
Jint
www.citroen-ds-id.com
Medi
Beiträge: 564
Registriert: Mi 18. Mai 2005, 16:24

Re: Frage zu: DS23 Modellvarianten

Beitrag von Medi »

Nachtrag:
Die hohe Drehzahl des DBW ist eine thermische Herausforderung.
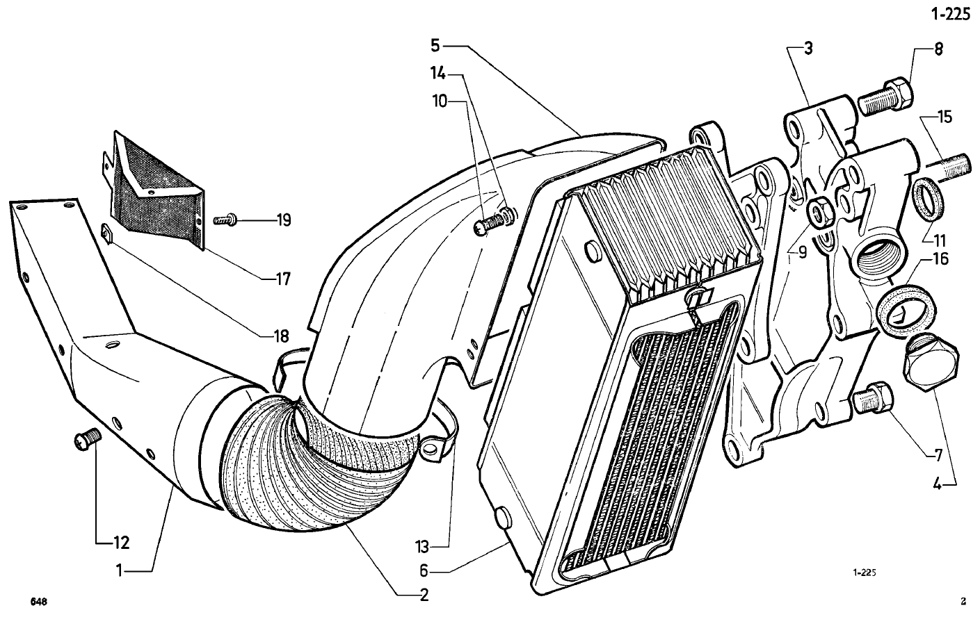
Anbei eine Darstellung aus dem Ersatzteilkatalog, Citroën, Nr. 648.
Der Ölkühler (6) muss sauber sein, gegebenenfalls mit Bremsenreiniger fluten und mit Hochdruckreiniger spülen.
Oft fehlt der Schlauch (2), prüfen!
Netz (17) reinigen.

[attachment 8534 lkhler.png]
Dateianhänge
lkühler.png
Benutzeravatar
Thomas Held Verified
Beiträge: 5081
Registriert: Do 22. Jul 2004, 12:11

Re: Frage zu: DS23 Modellvarianten

Beitrag von Thomas Held Verified »

[quote=Medi]
Nachtrag:
Die hohe Drehzahl des DBW ist eine thermische Herausforderung.
[/quote]

Hallo Dietmar,

das Drehzahlniveau bei hoher Geschwindgkeit ist bei BW aber praktisch das gleiche wie bei den Viergang-Getrieben (Schalter/HA) auch, siehe Jints Tabelle.
Gruss,

Tom
Gruß

Tom
anieder Verified
Beiträge: 3306
Registriert: Fr 22. Mär 2013, 12:39

Re: Frage zu: DS23 Modellvarianten

Beitrag von anieder Verified »

Hi tom

Die 4 gang HA haben ja auch den Ölkühler.

@ eisvogel: oder ist es die rote aus Balingen.


Gruß

Andreas
Jint Nijman Verified
Beiträge: 2069
Registriert: Fr 14. Feb 2003, 23:11

Re: Frage zu: DS23 Modellvarianten

Beitrag von Jint Nijman Verified »

[quote=anieder]
Die 4 gang HA haben ja auch den Ölkühler.
[/quote]
Aber nur die DS21 i.e. und DS23 i.e.
Und lt. Jan de Lange hatte auch die DS21 i.e. BVM (4-Gang) einen Olkühler.
Eine DS23 i.e. BVM (immer 5-Gang) hat keinen Olkühler.

Jint
Jint
www.citroen-ds-id.com
1956-1969
Beiträge: 241
Registriert: Mi 2. Jan 2013, 12:13

Re: Frage zu: DS23 Modellvarianten

Beitrag von 1956-1969 »

Die Logik hinter mit/ohne Ölkühler bei den starken späten Kurzhuber-DS habe ich noch nie verstanden. Habe mich auch nicht wirklich bemüht, das zu verstehen, denn sie stehen nicht zentral in meinem Fokus.

Lustig finde ich aber zu sehen in Jints Tabelle, dass ein schwacher alter Langhub-DS im 4. Gang tieftouriger fährt als jeder stärkere modernere Kurzhuber-DS im 5. Gang.
Dabei soll der 5. Gang angeblich dazu gut sein, das Drehzahlniveau zu senken. Hmmh.
Ist halt alles relativ, wie der Physiker sagt.
Uli
Benutzeravatar
maldini Verified
Beiträge: 3600
Registriert: Do 18. Mai 2006, 00:23

Re: Frage zu: DS23 Modellvarianten

Beitrag von maldini Verified »

Hallo,

woran kann man dieses Getriebe erkennen - also das langübersetzte 4 Gang?


Models DV-->| 9/1969 (until september 1969)

Gear gear ratio total gear ratio speed in km/h for
engine 1000 rev/min
1 12/39 0.3076 8/35 0.0703 8.7
2 18/33 0.5454 0.1246 15.5
3 23/27 0.8518 0.1947 24.2
4 28/22 1.2727 0.2909 36.1
reverse 13/22 x 22/41 0.3170 0.0724 9


ich würde es liebend gerne gegen mein 5Ganggetriebe tauschen..


weis wer was?

Grüsse Karl
Pit
Beiträge: 2899
Registriert: Fr 17. Jan 2003, 18:39

Re: Frage zu: DS23 Modellvarianten

Beitrag von Pit »

Der Langhuber (100mm Hub gegenüber 85,5mm) hat halt bei gleicher Drehzahl eine um 17% höhere Kolbengeschwindigkeit. Das heißt der Langhuber hat bei 4500U/min die gleiche Kolbengeschwindigkeit, wie der Kurzhuber bei 5265U/min
Grüße,
pit
Medi
Beiträge: 564
Registriert: Mi 18. Mai 2005, 16:24

Re: Frage zu: DS23 Modellvarianten

Beitrag von Medi »

Tom,
prinzipiell von Andreas schon beantwortet, Motorölkühler für die ‚Schnelldreher‘ …
Beim BVA sitzt zudem noch der Getriebeölkühler vorm Wasserkühler, der 'wärmt' zusätzlich und verdeckt…

[attachment 8542 Getriebelkhler.jpg]
Dateianhänge
Getriebeölkühler.jpg
Antworten